Kodutehnika remont

Lootsin et seekord läheb ehk nii, et keegi ilmaaegu ei haugu, aga kus sa sellega.
Vasta

 Vecumnieki asula Lätimaal kus keegi meister omab juppe ja teeb kõik korda? Ega nende juppidega on jah nii et otsi ise... Minu esimese LG DVD salvastaja mehhaanika hakkas jupsima ning Arwestist öeldi et selle mudeli ja ka varuosa tootmine lõpetatud.Nad vist ikka uurisid aga said eitava vastuse ja soovitati et too sama mudel mil mehhaanika korras ja teevad kahest ühe.No kõllasin sõbrale kel selline aparaat kunagi oli ja küsisin selle kohta.Ta oli juba ammu selle täesti töökorras olevana jäätmejaama viind kuna polnd rakendust.
Nii et selle vanakooli tehnikaga polegi nii lihtne - meistrimehi võib ju olla aga juppe enam mitte  Sad
Vasta

Kaks korda olen tol meistril külas käinud ja see baas, mida ta koju varunud, on muljetavaldav.
Revoxi klaasferriitpeadega läks küll paar kuud aega, aga leidis. Veorihmasid ehk passikuid nagu neid idanaaber nimetab, on igasuguseid kogunenud. Ükshaaval neid osta on suht mõttetu, sestap saabuvadki komplektidena, mitmes mõõdus ja eri profiilidega.
Hetkel on muidugi selline seis, et kel varud olemas, need väga ei muretse. Ukraina ja vene turud kinni, sealsete asjaarmastajate varudest seda originaalkaupa tavaliselt laiali jagati. Lääne-Euroopas pole suurt midagi säilinud ja järeltootmisega tegeleb loomulikult Hiina, kelle toodete kvaliteediga on nagu on.
Vasta

Roomik Kirjutas:Esiteks sulatuse andur/relee aurusti ("külmutustorustiku") küljes kontrolli üle.
Teiseks küttekeha sealsamas.
Kuugel "freezer defrost sensor".
Sulatamisel selgus, et kapi sisesel aurustil on küljes üks andur, mille juhe kaob seina sisse. Mingit sulatuse küttekeha pole. Ilmselt see andur siis ei toimeta nagu peab? 
Kuidas seda andurit kontrollida? Või on asja hinnaklass selline, et uus külge ja elu läheb edasi?
Kapp endiselt siis 2-kompressoriga Gorenje, välise uksedispleiga.
Edit. Kas see võiks olla õige andur?
https://www.huoltopalvelu.com/Gorenje-fr...sensor-kit

Idiootidega pole mõtet vaielda - nad veavad sind enda tasemele ja lajatavad siis kogemusega /Iid-Tõstamaa/
Anna väikesele inimesele veel väiksem võim kätte ja ta arvab kohe et on Jumal taevas (või mode foorumis...)
Vasta

Kui seal aurusti juures ainuke juhtmete otsas olev asi on see andur, siis pole see kapi pool automaatse sulatusega.
Sinu lingil on mudelite nimekiri olemas, kuhu sobib see andur.

Korras tihenditega tõmbab kapi ukse peale avamist-sulgemist "vaakumisse", nii et pisut aega on ust oluliselt raskem avada kui tavaliselt.
Eriti hästi on effekt tuntav sügavkülmaga. Mõnda sügavkülmkirstu ei saagi tükk aega lahti Smile
Vasta

(09-04-2022, 17:11 PM)Roomik Kirjutas:  Korras tihenditega tõmbab kapi ukse peale avamist-sulgemist "vaakumisse", nii et pisut aega on ust oluliselt raskem avada kui tavaliselt.
Oli vist vöörpooli sõnnik eelmine kapp mis kohe p...e läks ja sellel küll tunda polnud.Nüüd snaige ja sellel täpselt nii ja käepidegi juba küljest  tõmmatud... Big Grin
Vasta

(09-04-2022, 17:32 PM)muska71 Kirjutas:  
(09-04-2022, 17:11 PM)Roomik Kirjutas:  Korras tihenditega tõmbab kapi ukse peale avamist-sulgemist "vaakumisse", nii et pisut aega on ust oluliselt raskem avada kui tavaliselt.
Oli vist vöörpooli sõnnik eelmine kapp mis kohe p...e läks ja sellel küll tunda polnud.Nüüd snaige ja sellel täpselt nii ja käepidegi juba küljest  tõmmatud... Big Grin
Kui tagaseinal äravoolu toru ja see just umbes ei ole, siis ei saa vaakumisse tõmmata.
Vasta

Roomik Kirjutas:Kui seal aurusti juures ainuke juhtmete otsas olev asi on see andur, siis pole see kapi pool automaatse sulatusega.
Sinu lingil on mudelite nimekiri olemas, kuhu sobib see andur
Mudel on täitsa olemas (HZOKF3567EF). Lisaks sellele andurile on kapis veel 2 andurit - üks no frost kastis ja teine keset kappi. Vedeliku äravool on kompressori peal olevasse anumasse. Kui see mudel pole väidetavalt autom. sulatusega siis kuidas ta siiani on toimetanud ilma inimese sekkumiseta ja sundsulatamisteta? Miskit on ikkagi pees.

Idiootidega pole mõtet vaielda - nad veavad sind enda tasemele ja lajatavad siis kogemusega /Iid-Tõstamaa/
Anna väikesele inimesele veel väiksem võim kätte ja ta arvab kohe et on Jumal taevas (või mode foorumis...)
Vasta

Tere

Kas oled kindel et sul on NoFrost külmik ?
Mina pole näinud kahe mootoriga NoFrost külmikut.
Aru ma sammuti ei saanud kumb osa sul jääse läheb, sügavkülm või jaheosa?

Panen su kapi joonise ja palun näidake kus on sellel kapil küttekeha ilma milleta ta ei saa kuidagi olla NoFrost.

   
Vasta

Huvitav jah, samas on kirjas ometi 
Defrost process fridge section Automatic

Frost free system In freezing compartment
Defrost process freezer section Automatic

https://fix-hub.ru/models/gorenje-nrk653...okf3567ef/
Vasta

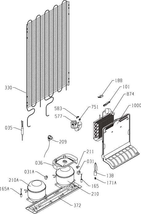
Kas selline aurusti on seal? https://img.fix-hub.ru/thumbnails/a973f6...ig-RU.jpeg
edit, Qunts, see on selle 874 pilt.
Vasta

(09-04-2022, 16:15 PM)Walter Kirjutas:  Edit. Kas see võiks olla õige andur?
https://www.huoltopalvelu.com/Gorenje-fr...sensor-kit
Jah võiks.
See peaks olena tavaline 5k NTC, mida saad testriga kontrollida.
Erinevatel kraadidel erinev takistus. https://ae01.alicdn.com/kf/HTB1AU4.muOSB...-Probe.jpg
https://www.lemona.ee/search.html?query=ntc%205k

Kui katki, saad nt siit paari euriga uue https://www.lemona.ee/search.html?query=ntc%205k
Vasta

Ehk nagu välja tuli siis ikka jää tekib aga mitte nähtavale kohale kuna ette käib plastik.
Kordame üle jäävaba süsteem toimib järgmiselt:
Jahekülmik.
Kõigepealt külmetab siis kapp seisab millest tuleb temperatuuri tõus kapis ja ennem niiskusest tekkinud jää tilgad hakkavad sulama, 
mis siis jooksevad mööda tagaseina alla läbi toru mootori peale ja seal aurustub. NB. uuematel kappidel on kõik kaetud plastikuga
või sulamis protsess on viidud seina sisse.
Sügavkülmadel.
On protsess põhimõtteliselt sama, külmetab siis seisab aga seismise ajal ta ju ei sula. Selleks ongi vaja küttekeha mis kord 24-72 tunnijooksul
sisse lülitatakse kas siis mehaanilise munakella laadse asjaga või siis elektrooniliselt (elektroonikasse on sisse loetud mitme tunni tagant peab 
sulatama). Kui sulatus toimub viiakse temperatuur olenevalt kapist kuni 60 kraadini aurusti juures mitte kapis sees, millega tekib jää sulamine 
ja vesi jookseb jälle ilusti mootori peal olevasse anumasse kus ta aurustub.
Jäävabadel kappidel on aurusti juures 2 andurit mis mõõdavad temperatuure nii alumist kui ülemist ja sellega juhitakse kompressori tööd ja
parematel kappidel kuvatakse ka temperatuuri. Kui kapp on töökorras siis need andurid ei puutu üldse sulatusse juhul kui kapis ei ole liiga soe
näiteks just lülitati käima, samas on olemas veel ukse kontroll lülitid, millega vaadatakse kas uks on ikka kinni ja kui on lahti lülitatakse välja
ventilaator, et ei puhuks kappist külma välja.
Viga tavaliselt on küttekehas, mis võib küll näidata testriga mõõtes, et on korras aga kui mõõta maandusesse võib lekkida ja kapp saab juba
valet infot ja on omadega loll valmis.
Kui keegi kahtlustab oma kappi puhul NTC andureid siis vaheta lihtsalt nende asukohad elektroonikas ja siis peaks kapp töötama aga näiteks
valet infot kuvama ekraanil.
NB. Jäävabade kappide suurim hirm on liiga soe tuba näiteks suvel +30 ja teine asi on lahtised vedelikud siis jahekapis (lahtise pottiga supp,
hea mahlakas värske salat). kolmandaks teete ukse lahti võtate asja ja sulgete ukse, mitte ei mõtle retsepti välja 10min uks irvakil.
Küsite miks ? Aga sellepärast, et jäävaba kapp proovib kapis sees olevat niiskust kogu aeg kuivatada ja kui teil on kapis lahtine supp siis ta seda
teha kahjuks ei jõuagi ja nii tekibki mitte nähtavatesse kohtadesse jää mille tagajärjel kiilub kinni ventikas jne.
Kui on kapp lolliks läinud tõmmake pistikust välja laske seista umbes 3 ööd/päeva et kõik jää ära sulaks ning ära kuivaks ja proovige siis uuesti.
90% juhtudest aitab !
Vasta

(10-04-2022, 10:14 AM)Qunts Kirjutas:  Jäävabadel kappidel on aurusti juures 2 andurit mis mõõdavad temperatuure nii alumist kui ülemist ja sellega juhitakse kompressori tööd ja
parematel kappidel kuvatakse ka temperatuuri. Kui kapp on töökorras siis need andurid ei puutu üldse sulatusse juhul kui kapis ei ole liiga soe
näiteks just lülitati käima,
Lisaks veel siia, et tihti on aurusti toru küljes ka mehhaaniline termostaatlüliti, mis on küttekehaga jadamisi ühendatud. Liiga sooja kapi puhul ei lase küttekehale voolu peale (nt peale pikka seismist kappi tööle pannes v kapi rikke korral) ja tavalise sulatusprotsessi puhul tagab sulatuse lõpetamise kohe, kui määratud temp on saavutatud. Seda tüüpi anduritel kipuvad kontaktid ära kärssama.
https://www.google.com/search?q=refriger...thermostat&tbm=isch&ved=2ahUKEwicpdLjjon3AhXlh4sKHQvrBVwQ2-cCegQIABAA&oq=refrigerator+defrost+thermostat&gs_lcp=CgNpbWcQAzIECAAQEzIICAAQBRAeEBMyCAgAEAUQHhATMggIABAFEB4QEzIICAAQBRAeEBMyCAgAEAUQHhATMggIABAIEB4QE1CjDFjJLGDbMGgAcAB4AIAB3QGIAewNkgEFMC45LjKYAQCgAQGqAQtnd3Mtd2l6LWltZ8ABAQ&sclient=img&ei=ZppSYpzaFuWPrgSL1pfgBQ&bih=719&biw=1600&client=firefox-b-d
Vasta

(09-04-2022, 20:02 PM)Roomik Kirjutas:  Kas selline aurusti on seal? https://img.fix-hub.ru/thumbnails/a973f6...ig-RU.jpeg
edit, Qunts, see on selle 874 pilt.
Tsitaat:Kas oled kindel et sul on NoFrost külmik ?
Mina pole näinud kahe mootoriga NoFrost külmikut.
Aru ma sammuti ei saanud kumb osa sul jääse läheb, sügavkülm või jaheosa?
Jäässe läheb jah ülemine e. jaheosa. Kuidas näeb välja sügavkülma osa aurusti, pole kahjuks lahti võtnud - kui te nii väidate ehk on tal küttekeha siis ainult sügavkülma aurustil.
Sügavkülma ukse peal sees on selline silt : No Frost - hakkasin mõtlema et kas võib olla et ainult sügavkülma osa on autom.sulatusega? Kasutusjuhendis kapi kirjeldus ja hooldus vastab täpselt sellele nagu seal on toodud kui kapp on autom. sulatusega (drenaaz kompressori peale, kinnise tagaosaga kamber, puuduvad vee väljalaskmise kohad kapi allosas jne.)
Kas sügavkülma mingi rike - küttekeha või andur võib mõjutada ka ülemise e. jaheosa jääteket? Autom. sulatus peaks ju kogu kapi jäävabaks tegema.
Siiani töötas sulatusprotsess täiesti hoomamatult ja probleemivabalt.


Manustatud failid Pilt (pildid)
   

Idiootidega pole mõtet vaielda - nad veavad sind enda tasemele ja lajatavad siis kogemusega /Iid-Tõstamaa/
Anna väikesele inimesele veel väiksem võim kätte ja ta arvab kohe et on Jumal taevas (või mode foorumis...)
Vasta

(11-04-2022, 08:57 AM)Walter Kirjutas:  
(09-04-2022, 20:02 PM)Roomik Kirjutas:  Kas selline aurusti on seal? https://img.fix-hub.ru/thumbnails/a973f6...ig-RU.jpeg
edit, Qunts, see on selle 874 pilt.
Tsitaat:Kas oled kindel et sul on NoFrost külmik ?
Mina pole näinud kahe mootoriga NoFrost külmikut.
Aru ma sammuti ei saanud kumb osa sul jääse läheb, sügavkülm või jaheosa?
Jäässe läheb jah ülemine e. jaheosa. Kuidas näeb välja sügavkülma osa aurusti, pole kahjuks lahti võtnud - kui te nii väidate ehk on tal küttekeha siis ainult sügavkülma aurustil.
Sügavkülma ukse peal sees on selline silt : No Frost - hakkasin mõtlema et kas võib olla et ainult sügavkülma osa on autom.sulatusega? Kasutusjuhendis kapi kirjeldus ja hooldus vastab täpselt sellele nagu seal on toodud kui kapp on autom. sulatusega (drenaaz kompressori peale, kinnise tagaosaga kamber, puuduvad vee väljalaskmise kohad kapi allosas jne.)
Kas sügavkülma mingi rike - küttekeha või andur võib mõjutada ka ülemise e. jaheosa jääteket? Autom. sulatus peaks ju kogu kapi jäävabaks tegema.
Siiani töötas sulatusprotsess täiesti hoomamatult ja probleemivabalt.
Nii sain lõpuks pool vastust oma küsimusele
Kuidas ta sul ülevalt osa jääse läheb ? Kas tekivad kuhugile vee piisad ja need jäätuvad või läheb mingi teatud koht jääse ja tekib selline kuhi ?
1. Pilt 874 on alumise osa aurusti.
2. kui on NoFrost siis tähendab seda, et all osas on kütte keha ja ülemine osa sulatab ennast ise nagu kõik kapid seda teevad alates aastast umbes 1970.
3. Kui on kahe mootoriga kapp siis alumine ja ülemine osa töötavad teineteisest sõltumata.
Kas oled mõõtnud ülemise osa temperatuure, kui jah mis nee on? sisse lülitus temp. ja väljalülituse temp?
Jäätunud kohast pilti ?
Vasta

(11-04-2022, 09:32 AM)Qunts Kirjutas:  Nii sain lõpuks pool vastust oma küsimusele
Kuidas ta sul ülevalt osa jääse läheb ? Kas tekivad kuhugile vee piisad ja need jäätuvad või läheb mingi teatud koht jääse ja tekib selline kuhi ?
1. Pilt 874 on alumise osa aurusti.
2. kui on NoFrost siis tähendab seda, et all osas on kütte keha ja ülemine osa sulatab ennast ise nagu kõik kapid seda teevad alates aastast umbes 1970.
3. Kui on kahe mootoriga kapp siis alumine ja ülemine osa töötavad teineteisest sõltumata.
Kas oled mõõtnud ülemise osa temperatuure, kui jah mis nee on? sisse lülitus temp. ja väljalülituse temp?
Jäätunud kohast pilti ?
Jää tekib jahekambri tagaseinas olevates piludes ning kasvab sealt edasi. Kui jää paksus on juba 1...1,5cm, siis kiilub ülemise osa vent. kinni ja hakkab plõksima. Edasist pole katsetanud. Paneeli maha võttes on selle alune paksult jääd täis. Ma oma lolli aruga oletan, et mingil põhjusel on ülemise osa temp. reziim paigast ära ja jahutab üle. Kas jahekambri tööd kontrollib selle aurusti küljes olev temp. andur?
Kas kõik kapis olevad temp. andurid on identsed (varuosade proge järgi millele varem viidati võiks nagu olla: 108164 (101))?
Temperatuure mõõtnud pole kuid displei järgi käituvad kambrid loogiliselt. Kas kompressorit lülitavad andur(-id) mis asuvad aurustite küljes ning displeid juhivad jahekambrites asuvad andurid?
Tänud kaasa mõtlemast!

Idiootidega pole mõtet vaielda - nad veavad sind enda tasemele ja lajatavad siis kogemusega /Iid-Tõstamaa/
Anna väikesele inimesele veel väiksem võim kätte ja ta arvab kohe et on Jumal taevas (või mode foorumis...)
Vasta

Kusagil eespool oli justkui kirjas, et kapis on +6 kraadi. Kui sein on jääs, siis kuidas saab olla +6? Viska termomeeter sisse ja vaata palju reaalselt on. Sul tõenäoliselt on termostaatlüliti tuksis ja jahutab liiga maha, aga siis peaks kohati ka sees olev toit hakkama jäässe minema.

Pähkliajude hirm
Vasta

(11-04-2022, 10:33 AM)ounou Kirjutas:  Kusagil eespool oli justkui kirjas, et kapis on +6 kraadi. Kui sein on jääs, siis kuidas saab olla +6?

Lekkiv uksetihend?
Vasta

(11-04-2022, 09:32 AM)Qunts Kirjutas:  Pilt 874 on alumise osa aurusti...
Aga 075? https://img.fix-hub.ru/thumbnails/53094f...big-RU.png

Pilt reaalsest asjast oleks tore.
Vasta




Kasutaja, kes vaatavad seda teemat: 1 külali(st)ne