14-12-2015, 01:05 AM
(Seda postitust muudeti viimati: 14-12-2015, 01:08 AM ja muutjaks oli aavu.)
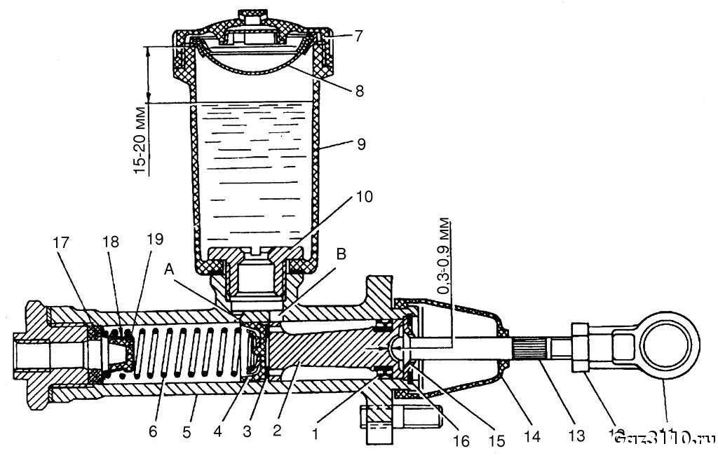
Sapakal polegi neid, on moskvitsil ja mingitel sapakatel, mis juba uuemad. Selle moskvitsi oma peal on näidatud kolvi ja hoova vaheks 0,3 - 0,9 mm. A ja B on augud, mille kaudu liigub õli paagist ja paaki tagasi. Kui mansett suleb ava A, siis ei õnnestu õhutamine. Pilt mingi sõjaväe LUAZ-i ja mosu silindrist. Venes kasutati ühe margi osi teiste markide peal ja mõnikord veidi täiustati või lihtsustati vastavalt vajadusele ja saadavusele. Oli ju plaanimajandus ja tihti defitsiit osadega.
Инвалид информационной воины на фронте Пярну-Хииу.
Tsiteerides John McCaini: "Venemaa on peamiselt bensiinijaam, mis teeskleb riiki"," rääkis Basse.
